中吸式轴流泵(DN150~DN600)

主要用途:城镇工矿给排水、市政工程、污水处理;钢铁、冶金、电厂、造船、水厂方面循环、提升水等;水利工程、江河治理;农田灌溉、水产养殖、盐场等。

1、可输送清水、轻度污水,介质温度可达40℃,pH值4-10;

2、优秀水利模型,制作精良,保证了用户的性能要求;

3、双重机械密封,可靠的防止漏水,大型泵因轴向力大,采用专用推力轴承,结构设计合理,润滑充分,散热良好,轴承使用寿命长

4、电机采用F级绝缘,耐高温,设有温度保护、监测、渗漏等报警装置;

5、能配套一控二至一控四的控制模式电控柜,可实现出现故障时泵自动关闭、备用泵自动启动;保留故障信号(自诊断)等功能,保证了运行的高可靠性;

6、机泵潜入水中,冷却条件好,机泵运行平衡性好,稳定、振动小、噪音低;

7、用户可根据需求,设计地下泵站,改善环境风貌;


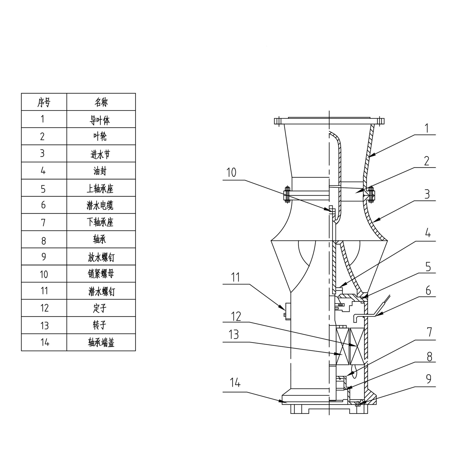
选型参数表 水泵结构 安装形式示意图 产品配件

选型参数表的修改.jpg

上一个:没有了!
下一个:没有了!